How best to apply multiple-hole orifice plates?
This column is moderated by Béla LiptÔk, automation and safety consultant and editor of the Instrument and Automation Engineers' Handbook (IAEH). If you have an automation-related question for this column, write to [email protected].
Q: With a conditioning orifice plate, how many holes are allowed? Is the maximum limit for the pressure drop through an orifice plate the same as the maximum differential pressure of the transmitter? Are there any other limitations?
M. Ulaganathan
[email protected]
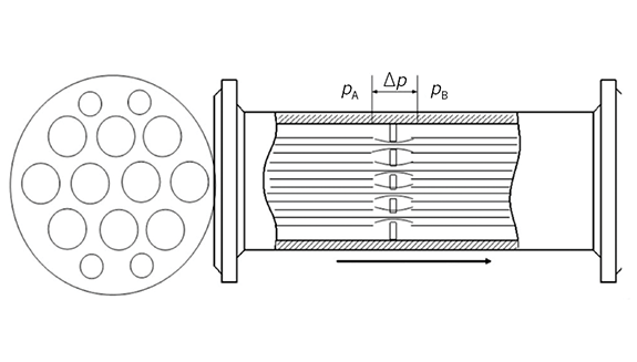
A1: Some multiple-hole orifice plates are used as "restriction orificesā (RO), serving to reduce or eliminate noise and/or cavitation. ROs are also used in front of safety devices (rupture discs, relief valves), which if they suddenly open, can overpressure downstream equipment. Therefore, it's desirable to limit the flow and the rate of pressure reduction through them, so the pressure on the upstream, protected equipment doesn't drop too fast. In a multi-hole plate, the flow is channeled into several streams through multiple holes (Figure 1). This reduces the noise that could be above acceptable limits if a single-hole device is used.
Such a unit can also be used either for pressure differential or flow measurement, depending on which variable is known. I usually estimate the flow through each opening as the total flow divided by the number of holes, , as the density of the fluid, while the pressure drop (ĪP) is measured. Therefore, if ĪP is known, the flow (Q) is:
where A is the cross-sectional area of the pipe and k is a constant that includes the effects of the ratio between the total area of the holes and that of the pipe, the engineering units used and such meter characteristics as the thickness of the plate and the quality of the holes (Figure 2). For an area ratio of 0.5, the pressure drop across the multi-hole orifice is about 70ā75% of the conventional single-hole orifice.
Figure 2: The flow at the inlet of a restriction orifice is channeled into several streams. Among other characteristics, this reduces the noise and/or cavitation that might occur with a single orifice. Source:Ā RocketPlate by SlurryFlo
The orifice thickness is usually twice the holeās diameter, so a large diameter hole could involve an excessively thick plate. Also, while in the case of a single-hole plate there's no "neighbor turbulence" effect that chokes pressure recovery, for a multiple-hole plate the expansions of one jet will impact expansions of the others, limiting pressure recovery. That can be one reason why, for high-pressure drop applications, multiple-hole orifices are chosen.
Some studies suggest the optimum number of holes is seven, but that view is not uniformly shared, and there are other considerations concerning strength and dimension. Accuracy greatly depends on the quality of the holes, and is usually estimated at only 1-2% over a range of 3:1, but the repeatability is usually better than the accuracy. The range of the differential pressure (d/p) transmitter is usually selected to be 1.2 times the maximum ĪP expected.
BƩla LiptƔk
[email protected]
Figure 3: Welded-in, spool-piece designs featuring conditioning orifices and pressure taps can be used to measure flows in both vertical and horizontal pipe runs.
A2: There are no codes or standards governing conditioning orifice platesāthe formulas are proprietary to the suppliers of these plates. Also, there are practical limitations based on particulates and clogging of the holes. This is best discussed with the vendor.
The limit of the d/p across the orifice plate has nothing to do with the transmitter. The limitations are purely from a process sizing perspective (e.g. Reynolds number). Read ISO 5167 or other good texts such as LiptĆ”k or Miller. The transmitter range is then specified to match the orifice sizing requirements.Ā
Simon Lucchini, CFSE, MIEAust CPEng
(Australia)
[email protected]
A3: Generally, orifice plates have either one or two holes: one for the flow and one for the drain or vent. In special applications, where you may have slurries or special fluids, then you may have more, but be aware that calculating the pressure drop is a complicated process and making the orifice plate even more difficult.
The majority of manufacturers have a maximum pressure drop that the sensing element can respond to accurately before you need to change to a sensor with different characteristics. The maximum pressure loss will depend on several factors such as line pressure and maximum line pressure drop. For example, at a line pressure of 1 bar, the pressure drop should be less than 0.1 bar, otherwise the line hydraulics will be affected.
Alejandro Varga
[email protected]
A4: There is no simple answer here, but a range of standards and handbooks show typical designs and applications. In general, the intent of a multiple-hole orifice plate is to serve as a flow conditioner, that is, to make the flow velocity pattern similar to one in a very long straight-pipe run. Again, see the handbooks and the standards.
Usually we don't want to waste energy across a flowmeter, so d/p is normally in the range of 20 to 200-inH2O (500 - 5000 mmH2O). This is high enough to realize d/p transmitter accuracy and to be certain of the Reynolds number inside the bore.
In the case of liquids near boiling temperature, excessive d/p may lead to vaporizing of the media. For gases, excessive d/p leads to inaccuracy due to the expansion of the gas not being fully compensated for in the equations. Some standards and handbooks will show at least a plot of the pressure recovery after an orifice plate; this depends mostly on the beta ratio, which is ratio of bore diameter to inside pipe diameter.
An orifice plate will deform or fail if the pressure drop is very high; this is a strength of materials issue. This is very rarely an issue except for flow restriction orifice plates. Flowmeter suppliers can provide further details.
Cullen Langford
[email protected]




